
24小時服務熱線:135-0317-6066
Product display
Hot News
Contact Us
河北省獻縣滄恒環保設備廠
聯系人:王經理
電 話:0317-4641055
手 機:135-0317-6066
郵 箱:cangheng@qq.com
地 址:獻縣陳莊鎮經濟開發區



一、簡介
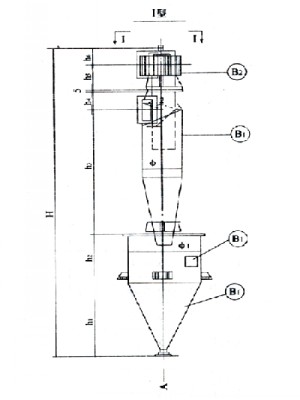
該種除塵器,是由旋風筒體,集灰斗和蝸殼(或集風帽)三部分組成,按筒體個數區分,有單筒,雙筒,三筒,六筒等五種組合,每種組合有兩種出風形式:Ⅰ型水平出風和Ⅱ型(上部出風)。對于Ⅰ型雙筒組合者,另有正中進出風和旁側進出風兩種組合形式,Ⅰ型單筒和三筒只有旁側時出風一種形式,四筒和六筒組合則只有正中進出風形式,對于二型各種組合,可采用上述Ⅰ型中的任意一種進風位置,該種除塵設備具有阻力小,除塵效率高,處理風量大,性能穩定,占地面積小結構簡單,實用廉價等特點。適用于各種機械加工,冶金建材,礦山采掘的粉塵粗、中級凈化。

二、技術參數
型號 | 處理風量(m3/h) | 設備阻力(mmH2O) | 除塵效率(%) |
CLT/A-3.0 | 670-1000 | 86-195 | 85-90 |
CLT/A-3.5 | 910-1360 | ||
CLT/A-4.0 | 1180-1780 | ||
CLT/A-4.5 | 1500-2250 | ||
CLT/A-5.0 | 1860-2780 | ||
CLT/A-5.5 | 2240-3360 | ||
CLT/A-6.0 | 2670-4000 | ||
CLT/A-6.5 | 3130-4700 | ||
CLT/A-7.0 | 3630-5440 | ||
CLT/A-7.5 | 4170-6250 | ||
CLT/A-8.0 | 4750-7130 | ||
CLT/A-2×3.0 | 1340-2000 | ||
CLT/A-2×3.5 | 1820-2720 | ||
CLT/A-2×4.0 | 2360-3560 | ||
CLT/A-2×4.5 | 3000-4500 | ||
CLT/A-2×5.0 | 3720-5560 | ||
CLT/A-2×5.5 | 4480-6720 | ||
CLT/A-2×6.0 | 5340-800 | ||
CLT/A-2×6.5 | 6260-9400 | ||
CLT/A-2×7.0 | 7260-10880 | ||
CLT/A-2×7.5 | 8340-12500 | ||
CLT/A-2×8.0 | 9500-14260 | ||
CLT/A-3×3.5 | 2730-4080 | ||
CLT/A-3×4.0 | 3540-5340 | ||
CLT/A-3×4.5 | 4500-6750 | ||
CLT/A-3×5.0 | 5580-8340 | ||
CLT/A-3×5.5 | 6720-10080 | ||
CLT/A-3×6.0 | 8010-12000 | ||
CLT/A-3×6.5 | 9390-14100 | ||
CLT/A-3×7.0 | 10890-16320 | ||
CLT/A-3×7.5 | 12510-18750 | ||
CLT/A-3×8.0 | 14250-21290 | ||
CLT/A-4×3.5 | 2640-5440 | ||
CLT/A-4×4.0 | 4720-7120 | ||
CLT/A-4×4.5 | 6000-9000 | ||
CLT/A-4×5.0 | 7440-11120 | ||
CLT/A-4×5.5 | 8960-13440 | ||
CLT/A-4×6.0 | 10680-16000 | ||
CLT/A-4×6.5 | 12520-18800 | ||
CLT/A-4×7.0 | 14520-21760 | ||
CLT/A-4×7.5 | 16680-25000 | ||
CLT/A-4×8.0 | 19000-28500 | ||
CLT/A-6×4.0 | 7080-10680 | ||
CLT/A-6×4.5 | 9000-13500 | ||
CLT/A-6×5.0 | 11160-16680 | ||
CLT/A-6×5.5 | 13440-20160 | ||
CLT/A-6×6.0 | 16020-24000 | ||
CLT/A-6×6.5 | 18780-28200 | ||
CLT/A-6×7.0 | 21780-32640 | ||
CLT/A-6×7.5 | 25020-37500 | ||
CLT/A-6×8.0 | 2850-42780 |
備注:以上所有技術參數僅供參考,如有更改不另行通知。